|
|
首頁-真空機組型號-羅茨旋片真空機組羅茨旋片真空機組
一、羅茨旋片真空機組的概述:
羅茨旋片真空機組是由ZJY型羅茨真空泵做為主抽泵,單級或雙級旋片泵做為前級泵的低、高真空獲得設備,整套機組安置在一個機架上,配以管道、閥門和電器操作控制箱,除最小二個規格外,還配有冷卻水管系統機組結構緊湊、使用方便。在2X型旋片式真空泵真空度達到極限時抽氣速率不斷降低,ZJY型羅茨真空泵能使機組在極限真空時保持相對大的抽氣速率.羅茨旋片真空機組真空度高,可持續工作,噪音低。
為了提高羅茨旋片真空機組的抽氣性能,達到較高的極限真空和改善在低入口壓力時的抽速特性及對大型真空機組配用較小規格的前極泵,羅茨真空機組也有由二級羅茨真空泵串聯的三級機組。
根據被抽真空系統的大小及氣體狀態,羅茨旋片真空機組各泵之間的名義抽速之比一般在4∶1至10∶1之間,前者適用于較大真空系統及長時間在較低入口壓力或極限真空情況下工作。本系列羅茨旋片真空機組為了防止前級旋片真空泵停機返油,在前級管道上裝有電磁放氣閥,其動作與前級旋片真空泵的電機聯動。
二、羅茨旋片真空機組的使用范圍:
羅茨旋片真空機組適用于抽吸空氣及其它無可凝性、無腐蝕性的氣體,廣泛應用于需要大抽速和需要獲得低、高真空的各種真空系統。例如:真空冶煉、鋼液脫氣、真空燒結、大型空間模擬試驗中的動態真空的獲得,電力電容器、變壓器真空浸漬處理,日光燈管、燈泡自動生產線上的排氣,保溫瓶膽的連續排氣,真空鍍膜設備中的預抽,鎂還原過程中的抽氣,單晶硅提煉過程中的除氣等等。
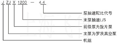
三、羅茨旋片真空機組型號意義:

四、羅茨旋片真空機組性能規格:
| 型號 Model |
性能 Functions |
| |
抽氣速率
(L/S) Pumping
Speed |
極限壓力
(≤Pa) Ultimate
Pressure |
主泵
Main Pump |
前級泵
Backing Pump |
總功率
(kw)
Total
Power |
進氣口徑
(mm)
Inlet
Diameter |
排氣口徑(mm)
Outlet
Diameter |
| JZJX30-8 |
30 |
5×10-2 |
ZJY30 |
2X-4A |
1.3 |
Φ50 |
Φ19 |
| JZJX30-4 |
30 |
5×10-2 |
ZJY30 |
2X-8A |
1.85 |
Φ50 |
Φ19 |
| JZJX70-8 |
70 |
5×10-2 |
ZJY70 |
2X-8A |
2.6 |
Φ80 |
Φ19 |
| JZJX70-4 |
70 |
5×10-2 |
ZJY70 |
2X-15 |
3.7 |
Φ100 |
G2" |
| JZJX150-8 |
150 |
5×10-2 |
ZJY150 |
2X-15 |
5.2 |
Φ100 |
G2" |
| JZJX150-4 |
150 |
5×10-2 |
ZJY150 |
2X-30A |
6 |
Φ100 |
G2" 1/2" |
| JZJX150-2 |
150 |
5×10-2 |
ZJY150 |
2X-70A |
8.5 |
Φ100 |
G4" |
| JZJX300-8 |
300 |
5×10-2 |
ZJY300 |
2X-30A |
7 |
Φ150 |
G2" 1/2" |
| JZJX300-4 |
300 |
5×10-2 |
ZJY300 |
2X-70A |
9.5 |
Φ150 |
G4" |
| JZJX300-2 |
300 |
5×10-2 |
ZJY300 |
2×2X-70A |
15 |
Φ150 |
G4" |
| JZJX600-8 |
600 |
5×10-2 |
ZJY600 |
2X-70A |
11 |
Φ150 |
G4" |
| JZJX600-4 |
600 |
5×10-2 |
ZJY600 |
2×2X-70A |
18.5 |
Φ150 |
G4" |
| JZJX1200-8 |
1200 |
5×10-2 |
ZJY1200 |
2×2X-70A |
22 |
Φ300 |
G4" |
五、羅茨旋片真空機組安裝尺寸圖:
| 型 號 |
L1 |
L2 |
L3 |
L4 |
L5 |
L6 |
L7 |
L8 |
L9 |
Φ |
H |
| JZJX30-8 |
650 |
85 |
360 |
530 |
550 |
25 |
500 |
550 |
/ |
12 |
1098 |
| JZJX30-4 |
650 |
85 |
360 |
530 |
640 |
25 |
590 |
640 |
/ |
12 |
1128 |
| JZJX70-8 |
930 |
165 |
600 |
930 |
770 |
20 |
610 |
650 |
35 |
14 |
1305 |
| JZJX70-4 |
930 |
165 |
600 |
930 |
798 |
20 |
710 |
750 |
35 |
14 |
1305 |
| JZJX150-8 |
1036 |
130 |
700 |
95 |
1118 |
20 |
768 |
808 |
300 |
15 |
1312 |
| JZJX150-4 |
1072 |
230 |
530 |
990 |
1048 |
20 |
710 |
750 |
300 |
15 |
1440 |
| JZJX150-2 |
1125 |
230 |
620 |
1080 |
1058 |
20 |
866 |
906 |
155 |
15 |
1440 |
| JZJX300-8 |
1178 |
180 |
800 |
1160 |
1324 |
20 |
710 |
750 |
427 |
15 |
1425 |
| JZJX300-4 |
1235 |
160 |
900 |
1217 |
1330 |
20 |
866 |
906 |
271 |
15 |
1570 |
| JZJX600-8 |
1235 |
160 |
900 |
1217 |
1330 |
20 |
866 |
906 |
271 |
15 |
1570 |
相關產品推薦:
羅茨水環真空機組 羅茨往復真空機組 羅茨水噴射真空機組 干式真空機組
ZJY型羅茨真空泵 |